бу запчасти в Кыргызстана

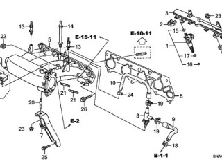
37830PNC003 датчик абсолютного давления


CARRO . Бизнес - (софт) программа для авторазборки
Отзывы о продавцах
Autopriwos
Близко удобно и доступные цены
Motorland
Отличные цены и выбор, но с парковкой нужно что-делать....
Autopriwos
Дженерал Интер / GENERALINTER.BY
4AVTO.by
Отличная компания,замечательный персонал, чётко понимают клиентов,полный перечень услуг: консультация,подборка,продажа,установка,нет в...
Авторазборка ДИАЛ
Хорошая розборка, цены адекватные и продавцы подскажут что да как
SZ154
Все по доступным ценам
Autostrong-m
Суперские ролики на Ютубе!!!
 
Не нашли необходимую запчасть в Кыргызстане?
Мы подобрали для вас список запчастей, удовлетворяющих вашему запросу в других странах: Беларусь (carro.by), Грузия (carro.ge), Казахстан (carrokz.com), Россия (carro.su)
12 часов назад
Датчик абсолютного давления воздуха Honda Accord CL7 2005-2008
Артикул: 27724
0 KGS
Номера37830PNC003
Тип КППМКПП
2.0- 2.4\nНа дроссельную заслонку.\n\nПрименяется: Acura RSX 2001-2006\nHonda Accord Coupe USA 2003-2008\nHonda Accord VII 2003-2008\nHonda Civic 4D 2006-2012\nHonda Civi...
Санкт-Петербург
Показать ещё
На странице 2 объяв. из 2


Рейтинг: 4.44 / Оценок: 227255